华中农业大学工学院/农业农村部长江中下游农业装备重点实验室,武汉 430070
徐红梅,E-mail:xhm790912@163.com
张国忠,E-mail:zhanggz@mail.hzau.edu.cn
S224.2
中央高校基本科研业务费专项(2662022GXYJ003)
College of Engineering, Huazhong Agricultural University/Key Laboratory of Agricultural Equipment in Mid-Lower Reaches of the Yangtze River,Ministry of Agriculture and Rural Affairs, Wuhan 430070,China
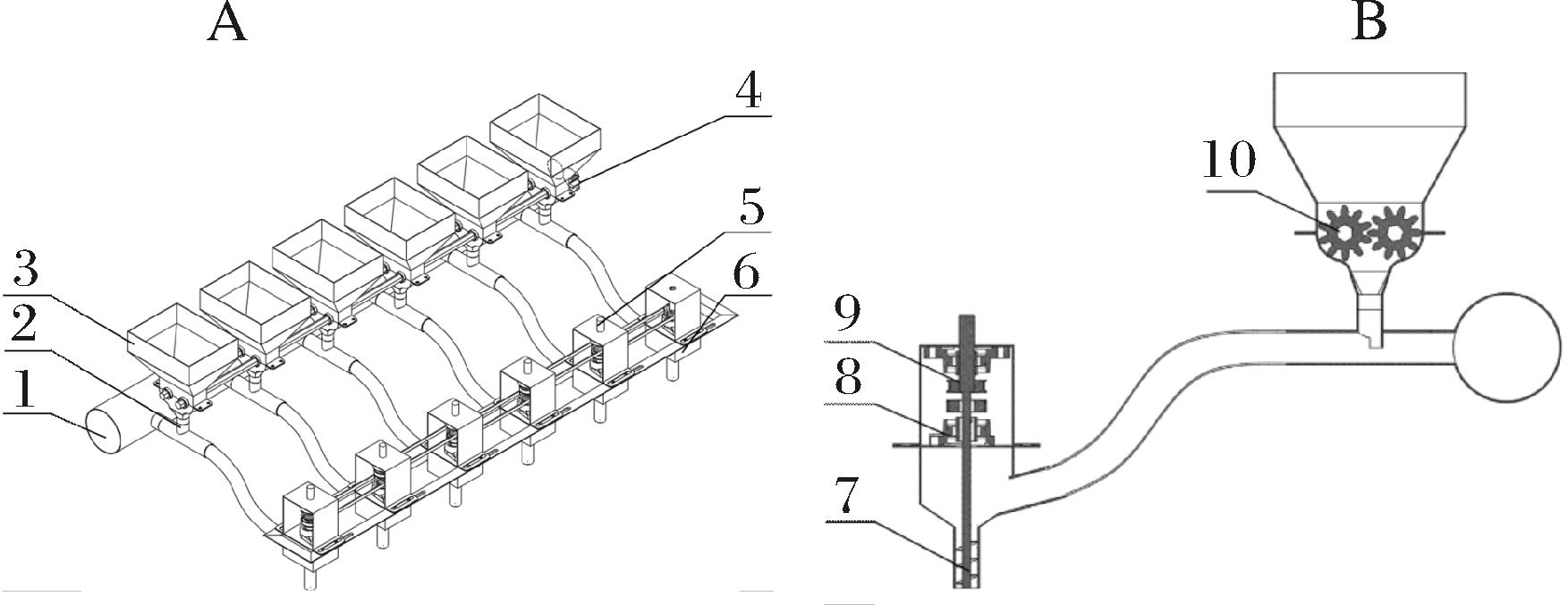
徐红梅,赵亚兵,李中鑫,蒙焌仕,张胤培,张国忠.风送式水稻侧深施肥装置的设计与试验[J].华中农业大学学报,2025,44(1):276-287
复制
