华中农业大学工学院/农业农村部水产养殖设施工程重点实验室,武汉 430070
李彬涛,E-mail: libintao123@qq.com
谭鹤群,E-mail:thq@mail.hzau.edu.cn
S964.3
湖北省科技重大项目(2023BBA001)李彬涛,E-mail:libintao123@qq.com
College of Engineering, Huazhong Agricultural University/Key Laboratory of Aquaculture Facilities Engineering, Ministry of Agriculture and Rural Affairs,Wuhan 430070, China
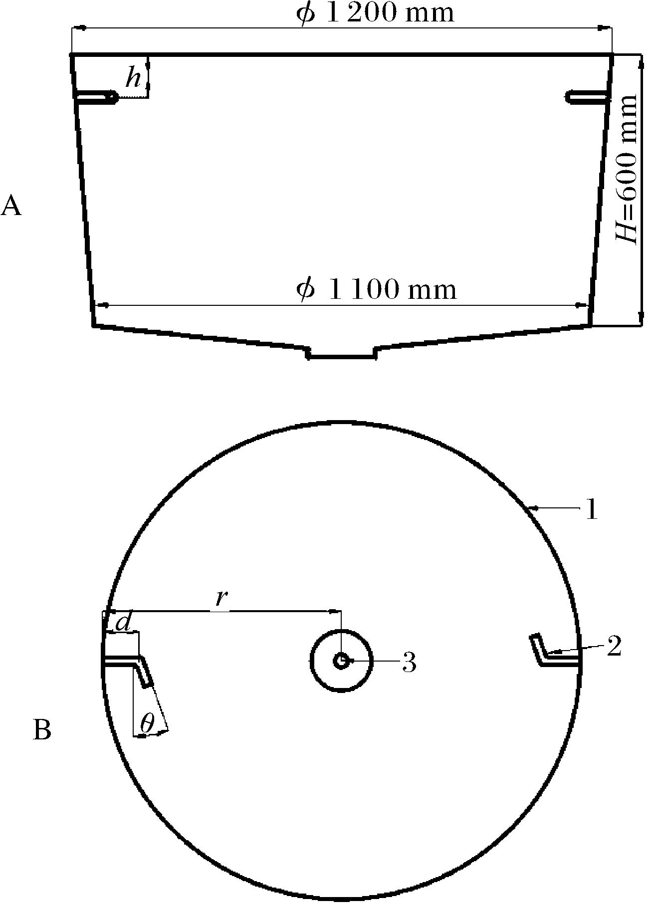
李彬涛,谭鹤群,张义仁,夏成醒.进水结构对圆形循环水养殖池流场的影响[J].华中农业大学学报,2024,43(2):22-29
复制
